網站首頁 公司簡介 產品展示 聯系我們 行業資訊
 
鄭州玉祥機械設備廠
13103833308
     
產品分類   更多》
容器罐槽系列
  提取濃縮系統
  攪拌乳化系列
  衛生級輸送泵
  殺菌機清洗機
 
超高溫瞬時滅菌機(瞬間殺菌機)
殺菌鍋,臥式殺菌鍋,高溫殺菌鍋
紫外線殺菌機(紫外線飲水消毒器)
熱交換器:板式換熱器
電加熱除菌呼吸器,電加熱呼吸器
CIP就地清洗罐,CIP就地清洗機
四頭水槽式刷瓶機
圓盤式自動理瓶機供瓶機
  不銹鋼膠體磨
  不銹鋼夾層鍋
  水處理過濾器
  包裝機械設備
  灌裝封口設備
  貼標機噴碼機
  軋蓋機鎖口機
  果蔬飲料機械
  冬瓜蓉生產線
  淀粉真空脫水機
   
聯系我們   更多》
聯系方式:

地址:鄭州市高新區蓮花街316號 電子電器產業園

(圣世嘉業6號樓305)

電話:0371-63751608

傳真:0371-63752708

手機:13103833308
 
殺菌機清洗機》臥式殺菌鍋,電汽兩用臥式殺菌鍋
 
 


高溫殺菌鍋,高壓殺菌鍋,殺菌釜,殺菌罐 殺菌鍋,臥式殺菌鍋 高溫殺菌鍋,高壓殺菌鍋,殺菌釜,殺菌罐
臥式殺菌鍋
臥式殺菌鍋
電汽兩用臥式殺菌鍋


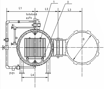
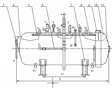
 概況:

  GT7C 型系列臥式殺菌鍋是利用壓縮空氣作反壓力的圓筒體殺菌設備,其鍋蓋鎖緊形式是采用自鎖楔塊嚙合方法,開閉啟動方便,適應于罐頭、飲料、牛奶、鹵

制品等馬口鐵罐和玻璃罐罐頭、塑料袋或耐蒸煮沸軟包裝物的實罐產品進行高溫殺菌處理工作,以達到保質期內“商品無菌”的要求。

  GT7C 型系列臥式殺菌鍋由鍋體、鍋蓋、開啟裝置、鎖緊楔塊、安全聯鎖裝置、軌道、滅菌筐、蒸汽噴管及若干管口等組成。鍋蓋密封采用充氣式硅橡膠耐溫密

封圈,密封可靠,使用壽命長。


操作說明:

  一般罐頭食品廠對罐頭作常壓水煮加熱殺菌處理時 都采用本形式的臥式殺菌鍋,本設備通過引入壓縮空氣實現反壓殺菌。如冷卻需在鍋內進行,須用水泵打入

鍋頂部的噴水管(或采用水循環系統)。在殺菌時,由于加熱使 罐頭 溫度升高, 罐頭 內的壓力會超過 罐 外(在鍋內)的壓力。因此,為了避免殺菌時 玻璃瓶

內增壓而跳蓋 , 對馬口鐵罐兩端凸出 , 必須施加反壓力,即是壓縮空氣通過鍋內增加壓力,防止 罐頭凸罐和跳蓋 ,其操作情況分述如下:

    由于壓縮空氣是不良導熱體,況蒸汽本身又具有一定的壓力,因此,在殺菌時升溫過程中,不放進壓縮空氣,而只在 達 到殺菌溫度后處于保溫時,才開

放壓縮空氣入鍋內,使鍋內增加 0. 5 ~ 0. 8 個大氣壓 。待經過殺菌后,降溫冷卻時,停止供應 蒸 氣,將冷卻水壓入噴水管。由于鍋內溫度下降,蒸 汽冷凝

,而使鍋內力降低采用壓縮空氣的壓力來補償。

  在殺菌過程中,應注意最初排氣,進而泄氣,使蒸汽流通。亦可每 隔 15-20 分鐘 放氣一次,促進熱交換。總之必須滿足殺菌條件的規定,按一定程序進行,

殺菌溫度的高低,殺菌壓力的大小,殺菌時間的長短和操作方法等均由 罐頭 產品的殺菌工藝作出具體規定。



主要技術參數:

設備型號

GT 7C720 型

GT 7C1200型

GT7C2000 型

GT7C2400 型

品種范圍名稱

低級壓力容器

生產能力(罐 / 次)

720

1200

2000

2400

鍋內徑( mm)

900

1000

1100

1200

容積( M 3 )

1.2

2

3.5

4.2

設計溫度

143℃

工作溫度

123℃

設計壓力

0.3MPa

工作壓力

≤0.2MPa

工作介質

水、蒸汽、壓縮空氣

主要受壓元件材質

A3

焊接系數

0.7

腐蝕裕度

1mm

蒸汽進口直徑

DN40-50

排氣(泄氣)直徑

DN32-40

冷熱水連接直徑

DN40-50

溢流管直徑

DN25-50

排水管直徑

DN40-50

安全閥直徑

DN25-40

壓縮空氣直徑

DN15-20

調節口直徑

DN25-40

設備總重( kg)

600

1100

1700

2000

外形尺寸(長、寬、高)

2100×1300×1650

2800×1450×1700

3700×1600×1800

4000×1600×1900














 
     
備案/許可證號:豫ICP備09020040號-4
 
版權所有:鄭州玉祥機械設備有限公司(Copyright m.txttjsj.com